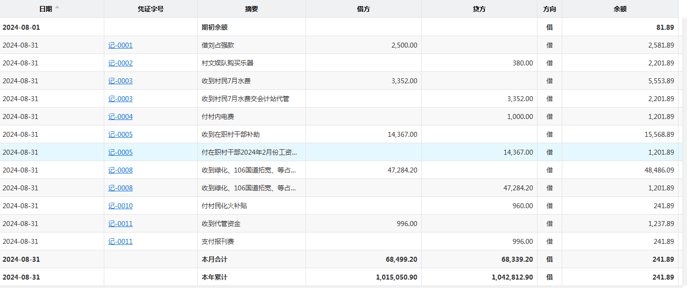
五花营2024年8月财务收支情况

image.png

copyright © 2018-2019 濮阳市(南乐县)信息化监督系统 主办单位:濮阳市纪委 豫ICP备12023551号-2